Apple potrebbe un giorno portare sul mercato un iPhone completamente flessibile e anche pieghevole, almeno sulla base di brevetti concessi alla società.
Rivelato Martedì dal US Patent and Trademark Office nel mese di gennaio 2015, un primo brevetto chiamato "Dispositivi Elettronici Flessibili" approvato alla Apple descrive un dispositivo mobile che è costituito da componenti flessibili sia dentro che fuori. Come tale, gli utenti sarebbero in grado di piegare, deformare e comprimere il dispositivo per eseguire funzioni quali l’apertura e la chiusura, accensione e spegnimento, e anche il lancio di alcune applicazioni.
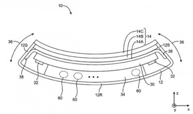
L’esterno del dispositivo potrebbe includere un rivestimento del display flessibile, un corpo flessibile e altri componenti esterni flessibili. Apple prevede un interno dotato di un display flessibile OLED, batterie flessibili, circuiti stampati flessibili e componenti elettrici flessibili.
Apple brevetto iPhone flessibile

In un altro documento, inviato nel 2014 e registrato nel novembre del 2016 dall’ufficio brevetti statunitense, Apple descrive "dispositivi con display flessibili" che si possono piegare su se stessi e agganciare agli abiti piuttosto che metterli in tasca. Le immagini allegate a questo brevetto mostrano dispositivi piegati in due come un portafoglio, ma anche in tre parti, ed eventualmente con degli agganci per poter essere agganciati agli abiti.
I rivali principali di Apple già offrono smartphone curvi, come il Galaxy Round di Samsung e il G Flex di LG. Al CES 2015, LG ha presentato il G Flex 2. Tuttavia, telefoni veramente pieghevoli come quello descritto nel brevetto di Apple non esistono ancora, almeno sul mercato di massa. Samsung e LG sono entrambe al lavoro per lanciare telefoni flessibili e pieghevoli. Questo nuovo brevetto della Apple dimostra che anche il produttore di iPhone sta investendo su questo nuovo, futuro mercato.
Apple brevetto iPhone pieghevole (2016)

Quali benefici potrebbero offrire i telefoni flessibili?
Prima di tutto il telefono avrebbe maggiori probabilità di sopravvivere ad una caduta. "I dispositivi elettronici flessibili possono essere più resistenti ai danni durante gli eventi di impatto, perché il dispositivo flessibile si può piegare o deformare mentre assorbe l’impatto," Apple ha spiegato nel suo brevetto. "Deformazioni di questo tipo possono aumentare la durata di un impatto, riducendo così l’impulso ricevuto da altri componenti del dispositivo flessibile".
Un telefono flessibile potrebbe anche azionare diversi tipi di comandi in base a come si manipola. "I dispositivi elettronici flessibili possono includere componenti, come sensori, per rilevare le deformazioni del dispositivo elettronico flessibile" Apple osserva nel brevetto. "Le deformazioni del dispositivo elettronico flessibile sono captate dai sensori, che possono fornire input dell’utente al dispositivo elettronico. Ad esempio, torcendo un dispositivo elettronico flessibile si può cambiare la modalità di funzionamento del dispositivo, può essere interpretato dal dispositivo come un comando come l’accensione o lo spegnimento del dispositivo stesso, ecc."
Come sempre, un brevetto non significa che l’invenzione vedrà la luce del giorno. Ma con Samsung e LG che stanno già studiando dei telefoni flessibili, Apple certamente vuole esplorare questa nuova tecnologia. Nel mese di giugno, Lenovo ha mostrato un prototipo di telefono flessibile che si può avvolgere intorno al polso. Secondo indiscrezioni, la società di Cupertino dovrebbe lanciare un iPhone con schermo flessibile nel 2017, ma Apple dovrebbe iniziare a vendere un iPhone pieghevole molto piu’ avanti nel tempo.





