telecom
TIM modifica Servizio manutenzione decoder TIMvision da gennaio 2017
Simone Ziggiotto
TIM ha comunicato una importante modifica delle condizioni generali dell’offerta in abbonamento TIMvision con decoder incluso e delle condizioni generali ...
Techwatch One Mini 2, smartwatch polifunzionale da 60 euro
Simone Ziggiotto
TechWatch One Mini 2 è l’ultimo smartwatch da Techmade, dotato di una forma squadrata e design moderno e diverse utili ...
Vodafone, GUIDA ai servizi a credito esaurito SOS Ricarica, Chiamata Extra
Simone Ziggiotto
I servizi di ricarica per le emergenze sono uno strumento prezioso sia per gli utenti, che così possono chiamare o ...
TIM Fibra FTTH 1000 Mega anche a Vicenza, Reggio Emilia, Trieste, Venezia, Firenze e Padova
Simone Ziggiotto
Piano BUL, gli obiettivi del Governo per la banda ultralarga Piano BUL, gli obiettivi del Governo per la banda ultralarga ...
Recensione Xiaomi Mi Note 2, Phablet con display Edge
pierpier
Xiaomi Mi Note 2 arriva dopo quasi due anni dall’annuncio del primo modello presentato a Gennaio 2015 ed ora costa ...
Amazon Black Friday e Cyber Monday 2016
Simone Ziggiotto
Su Amazon.it dopo Black Friday 2016, quest’anno in programma venerdi’ 25 novembre, è giorno di Cyber Monday 2016, lunedì 28 novembre, con una ...
Amazon BlackFriday: Ecco tutte le offerte lampo di Oggi 25 Novembre minuto per minuto
Redazione
Pronti per il grande atteso BlackFriday di Amazon? Per orientarvi in questa caotica giornata, ecco tutte le offerte lampo previste ...
Gionee S9 ufficiale
Simone Ziggiotto
Era atteso almeno un nuovo smartphone marchiato Gionee il 15 novembre e cosi’ è stato: il marchio cinese ha ufficialmente ...
Xiaomi Redmi Note 4 vs Redmi Pro, il nostro confronto video
pierpier
Quello di oggi sarà un confronto diverso dal solito perchè mettiamo uno contro l’altro Xiaomi Redmi Note 4 e Xiaomi ...
Recensione Nubia Z11, senza bordi ma con tanta sostanza
pierpier
La serie ZTE Nubia arriva finalmente in Italia ufficialmente con il proprio store online e dopo avervi mostrato lo Z11 ...
Unboxing Xiaomi Mi Note 2 e prime impressioni
pierpier
Presentato da pochissimo e già nelle nostre mani, oggi parleremo di Xiaomi Mi Note 2 ovvero il nuovo Phablet dell’azienda ...
Recensione Xiaomi Mi5S, il nuovo Top di gamma compatto
pierpier
Per presentare il successore di Xiaomi Mi4 l’azienda ha impiegato ben più di un anno mentre adesso dopo soli sette ...
LG G5 si aggiorna ad Android 7 Nougat
Simone Ziggiotto
Era stato promesso entro il mese di novembre e cosi’ è stato: LG ha annunciato di aver iniziato a distribuire ...
Unboxing Huawei Mate 9 e prime impressioni
pierpier
Il 3 Novembre 2016 è stato un giorno particolarmente duro con sveglia all’alba e ritorno a casa quando ormai il ...
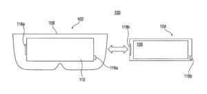
Apple brevetta il suo visore VR
Simone Ziggiotto
Ad Apple è stato assegnato un nuovo brevetto dallo United States Patent and Trademark Office per un dispositivo chiamato "Head-Mounted ...
Facebook vuole testare droni a bassa quota nella Silicon Valley
Simone Ziggiotto
Il cielo sopra la sede di Facebook nella Silicon Valley potrebbe presto essere invaso dai droni. Infatti, la società prevede ...
Xiaomi Mi VR, visore per realta’ virtuale con controller di movimento
Simone Ziggiotto
Xiaomi ha lanciato un nuovo visore per la realtà virtuale chiamato Mi VR, qualcosa di ben piu’ evoluto rispetto al ...
Wind rimodula All Inclusive Music e Games per fine accordi con Gameloft e Napster
Simone Ziggiotto
Con la collaborazione tra Wind e Napster, servizio di streaming musicale, è nata alla fine del 2014 "All Inclusive Music", ...
Google e Facebook insieme per una nuova dorsale in fibra ottica
Simone Ziggiotto
Facebook e Alphabet (Google) hanno annunciato la partnership con una società cinese per posare un cavo di quasi 12.800 chilometri ...
TIM modifica condizioni economiche Offerte Business dal 1 Novembre 2016
Simone Ziggiotto
TIM Impresa Semplice sta introducendo novità sulle offerte per i Clienti Business, in vigore a partire dal 1 Novembre 2016. ...

























