Una domanda di brevetto concessa a Apple e pubblicato dallo USA Patent and Trademark Office (USPTO) descrive un braccialetto per un dispositivo indossabile che può ospitare una certa tecnologia al suo interno. In particolare, il brevetto fa riferimento ad un "meccanismo di fissaggio a banda con risposta tattile" e potrebbe significare che Apple sta esplorando la possibilità di integrare alcune delle tecnologie di Apple Watch, o un dispositivo indossabile futuro, direttamente nel cinturino.
Il brevetto descrive che componenti hardware come un motore tattile di feedback potrebbero essere integrati nel cinturino invece che nel dispositivo stesso, lavorando con questo tramite connessioni interne. Il primo vantaggio di poter integrare elementi hardware nel cinturino stesso è la possibilità di ridurre la dimensione del modulo principale, come ad esempio il quadrante display di uno smartwatch.
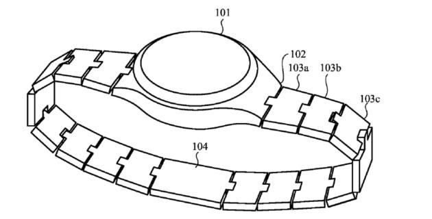
Di qualcosa di simile abbiamo gia’ avuto modo di parlare in passato, quando una domanda di brevetto depositata da Apple nel mese di febbraio 2015 dal titolo "Modular functional band links for wearable devices / bande con moduli funzionali per dispositivi indossabili" ha anticipato che un futuro dispositivo indossabile di Apple potrebbe essere compatibile con cinturini fatti di moduli intelligenti per integrarsi di nuove funzionalità.
Grazie a questi moduli intelligenti gli utenti saranno in grado di acquistare questi smart modular bands la cui tecnologia è in grado di integrarsi con quella dell’orologio, anche se in che modo e per l’aggiunta di quali funzioni al momento non è noto in modo dettagliato ma alcuni indizi ci sono nella domanda di brevetto.
Uno dei principali vantaggi di questi smart modular bands è che Apple non dovrebbe piu’ presentare un nuovo hardware ogni volta che vuole aggiungere determinate funzioni al suo Apple Watch. Nella domanda di brevetto, ad esempio, si menziona ad un modulo per una batteria aggiuntiva, un rilevatore della pressione arteriosa e termometro, un modulo GPS, altoparlanti, una macchina fotografica, e un modulo che misura la quantità di sudore generato dal corpo.
Come farebbe un cinturino ad essere modulare? Ciascun modulo sarebbe ‘sfoderabile’, con ciascun modulo che potrebbe corrispondere ad una maglia del cinturino, e quindi è l’utente che, in base alle proprie esigenze, potrà acquistare moduli aggiuntivi e agganciarli l’uno all’altro per andare a comporre il cinturino da collegare all’unità centrale, ovvero l’Apple Watch.
Apple Watch – brevetto smart modular bands

Questa la descrizione del brevetto tradotta:
Un dispositivo indossabile è accoppiato ad una banda che include collegamenti multipli a moduli funzionali, ciascuno elettricamente e meccanicamente collegato ad uno o più altri moduli che comprendono uno o più componenti elettronici. In varie implementazioni, il dispositivo indossabile può integrarsi di un sensore da ciascun modulo per abilitare determinate funzionalità e comunicare con i moduli per utilizzare determinate funzioni. In alcune implementazioni, i moduli potrebbero includere più dispositivi di output diversi… i moduli potrebbero includere più dispositivi di input diversi e il dispositivo indossabile potrebbe ricevere indicazioni in ingresso dai dispositivi di input ed eseguire un’azione basata su un modello in cui le indicazioni di ingresso sono state rilevate dai rispettivi dispositivi di input.
La domanda di brevetto non rivela quando Apple potrebbe introdurre questi moduli per i cinturini di Apple Watch, e ricordiamo che è stata depositata oltre un anno fa.






