Tastiera touch programmabile sui nuovi Mac di Apple

Apple ha brevettato un sistema che puo' sostituire tutta la tastiera di un MacBook con un touchpad gigante 'programmabile' e dotato di tecnologia Force Touch.

Scritto da

Simone Ziggiotto

il

Apple ha brevettato un sistema che puo’ sostituire tutta la tastiera di un MacBook con un touchpad gigante ‘programmabile’ e dotato di tecnologia Force Touch. Vedremo questa nuova tecnologia nei nuovi Mac che Apple si appresta ad introdurre ad un evento il prossimo 27 ottobre? Solo il tempo ce lo dirà, nel frattepo scopriamo di cosa si tratta.

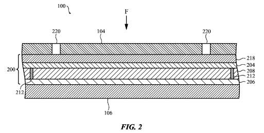
Pubblicato lo scorso 7 aprile dallo US Patent and Trademark Office, un brevetto depositato nel mese di settembre 2015 denominato "force-sensitive input structure for an electronic device" una superficie di input sensibile alla pressione per un dispositivo elettronico.

Apple definisce questo tipo di struttura come "zero-travel", cioè priva di parti meccaniche mobili visibili quando vengono premute – la superficie dovrebbe, tuttavia, percepire la forza delle dita e restituire un feedback tattile durante la digitazione, come una vibrazione leggera.

Un primo vantaggio di un metodo di input come quello descritto nel brevetto è la configurabilità – un utente potrebbe programmare la superficie in base alle proprie esigenze: ad esempio, una sezione potrebbe essere utilizzata per un tastierino numerico al fianco del trackpad (vedi immagine sotto). Un secondo vantaggio potrebbe essere un minor rischio di danneggiare i componenti, mentre un terzo vantaggio puo’ essere la penetrazione di meno sporcizia nel computer – in una tastiera tradizionale tra le fessure dei tasti con il passare del tempo possono entrare polvere o altri elementi che, a lungo andare, potrebbero danneggiare il dispositivo.

Apple – tastiera configurabile

Una domanda sorge spontanea: come si fa a sapere dove si trova un determinato tasto? Apple nel brevetto spiega una griglia di "micro-perforazioni o fori" con le aree dei singoli tasti che diventano visibili grazie ad una illuminazione dall’interno.

Ecco la traduzione dell’estratto del brevetto:

Una configurabile, sensibile alla forza struttura di input per un dispositivo elettronico viene qui descritta. La struttura di input ha uno strato metallico di contatto, uno strato sensibile posizionato sotto lo strato di contatto di metallo ed uno strato rigido capacitivamente accoppiato allo strato sensibile. La struttura di ingresso può anche avere un altro strato posizionato fra ed accoppiato allo strato sensibile e lo strato di comando, uno strato di base rigida posizionato sotto lo strato di comando, e una serie di supporti posizionati fra lo strato metallico di contatto e lo strato di base rigida.

Apple – tastiera configurabile

Apple – tastiera configurabile – strati

Come sempre ricordiamo in questi casi, una domanda di brevetto non significa che quanto brevettato diventerà reale. Ad esempio, un anno fa circa alla Apple è stato concesso un brevetto denominato "tastiera Fusion" che ha descritto una tastiera con tasti e sensori touch integrati che potrebbe essere utilizzata al posto del tradizionale trackpad – di questo brevetto non abbiamo piu’ sentito parlare.

Apple – tastiera configurabile

Apple – tastiera configurabile

Impostazioni privacy