L’Ufficio Brevetti e Marchi degli Stati Uniti – lo USPTO – ha concesso a Apple un brevetto per un "dispositivo acustico resistente ai liquidi" (brevetto numero 9,363,589) e un secondo brevetto per un "sistema e metodo di miscelazione dei segnali accelerometrici e di microfoni per migliorare la qualità della voce in un dispositivo mobile" (brevetto numero 9,363,596).
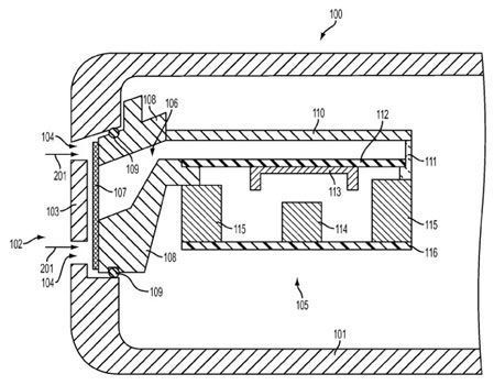
Il primo brevetto denominato "Liquid resistant acoustic device" descrive un metodo di impermeabilizzazione degli auricolari acustiche mediante l’uso di una maglia ad "ombrello" da posizionare tra una porta acustica, come potrebbe essere un altoparlante, e l’alloggiamento del dispositivo: in questo modo in modo la maglia ad ombrello andrebbe a coprire la porta acustica impedendo ai liquidi di entrare nel dispositivo. Quando il liquido passa attraverso le aperture dell’alloggiamento entra in contatto con la maglia ad ombrello e viene dirottato verso l’esterno. La particolare posizione dei componenti servirebbe inoltre a ridurre la pressione che l’eventuale liquido avrebbe sulla maglia e limitando così qualsiasi danno potenziale al dispositivo acustico interno.
Apple nel brevetto scrive che, tuttavia, in alcune situazioni potrebbe passare una certa quantità di liquido ad una eventuale pressione che potrebbe portare a danni strutturali.
Il sistema di Apple può essere ulteriormente ottimizzato applicando un rivestimento idrofobico alla maglia a forma di ombrello esterna e un rivestimento idrofobico alla superficie interna. Lo strato idrofobico, che potrebbe anche essere applicato direttamente alla struttura di un iPhone, agirebbe come una difesa aggiuntiva nel caso di ingresso indesiderato di liquidi. Se questa barriera viene violata, un rivestimento idrofobico applicato alla superficie interna della maglia aiuterebbe a trasportare il liquido fuori dalla struttura.
Apple – dispositivo acustico resistente ai liquidi

Apple ha adottato un approccio simile per impermeabilizzare l’Apple Watch, ma questo brevetto potrebbe essere utilizzato per creare il primo iPhone resistente all’acqua. Secondo indiscrezioni che circolano da alcune settimane, il prossimo iPhone 7 sarà resistente all’acqua, quindi la soluzione che la società di Cupertino potrebbe essere legata in qualche modo al brevetto in questione.
Il secondo brevetto "System and method of mixing accelerometer and microphone signals to improve voice quality in a mobile device" descrive un sistema e metodo di miscelazione dei segnali accelerometrici e di microfoni per migliorare la qualità della voce in un dispositivo mobile. Come riportato da AppleInsider, il brevetto descrive un dispositivo auricolare dotato di sensori accelerometro in grado di rilevare le vibrazioni della corda vocale che si propagano attraverso il cranio di un utente. Con l’aiuto di un microfono integrato, il sistema misura i segnali di uscita e analizza il rumore non vocale per distinguere la voce dalle vibrazioni del rumore ambientale. Il documento Apple descrive così un auricolare che, mediante l’utilizzo di una tecnologia a conduzione ossea, è in grado di filtrare in modo più efficace il rumore ambientale. La cuffia potrebbe contare su un accelerometro per rilevare le vibrazioni piu’ lievi, così come una serie di microfoni per il miglioramento della qualità vocale e cancellazione dell’eco.
Apple – brevetto 2

Anche se sono stati concessi a Apple e resi pubblici solo a metà del 2016, i brevetti sono stati depositati nel 2014 e il 2013, rispettivamente, presso lo US Patent and Trademark Office.






