Gli scrittori di Ritorno al futuro parte II nel 1989 hanno viste realizzate molte delle loro previsioni nel 2015. Abbiamo i tablet e la video chiamata, per esempio, anche se stiamo ancora aspettando le auto volanti (anche se in Cina si è già inaugurato il treno a levitazione magnetica).
Una delle idee fantasiose viste nel film è stato lo schermo piatto montato a parete per mostrare una vista panoramica – un’idea simile alla parete della sala da pranzo in un altro classico futuristico della stessa epoca, Total Recall del 1990. Non esistono dispositivi simili sul mercato al momento, ma sembra che Google sta lavorando per cambiare le cose, stando a quanto i colleghi di Quartz ci segnalano.
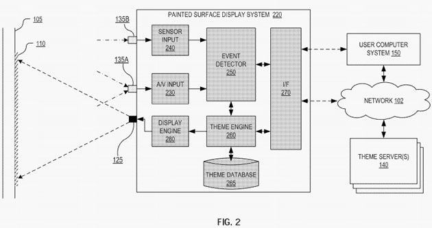
In un brevetto assegnato a Google, chiamato ‘Method and apparatus for themes using photo-active surface paint’, l’azienda delinea un sistema di proiezione che può visualizzare le immagini su un muro dipinto con vernice foto-reattiva. L’idea di Google sarebbe sostanzialmente quella di trasformare qualsiasi parete in una casa in uno schermo.
Il proiettore dovrebbe emettere un fascio di luce che il brevetto definisce un "tema". Quando la luce o un laser colpisce il muro, la vernice foto-reattiva è in grado di cambiare dall’essere qualsiasi colore in cui è stato dipinto in qualcosa di piuttosto simile ad un desktop del computer o screensaver. La parete foto-reattiva funziona come uno schermo e-ink, quello degli e-book moderni, il che significa che l’immagine proiettata rimane sul muro fino a quando viene proiettata una nuova immagine.
Google – brevetto schermo su parete

Il brevetto suggerisce una serie di temi diversi che possono essere visualizzati, tra cui uno che simula la vita all’aria aperta; poi ci sono temi specifici per le festività (come l’aggiunta di ragnatele e ragni al muro per Halloween); o un tema che si aggiorna per mostrare in tempo reale i punteggi e le immagini di eventi sportivi.
Il brevetto suggerisce che la tecnologia proposta da Google sarebbe in grado di aggiornare le immagini proiettate abbastanza spesso per sostenere la riproduzione di video (e non solo immagini fisse).
Il brevetto dice anche che qualsiasi superficie può essere rivestita di vernice foto-reattiva trasparente, il che significa che potrebbe teoricamente trasformare una casa già costruita in un televisore, se lo si desidera.
Google ha risposto ad una richiesta di commento sul suddetto brevetto che gli è stato approvato con la seguente affermazione: "Noi riteniamo i brevetti come una serie di idee, e alcune di queste poi maturano in prodotti o servizi reali, altre no. Gli annunci di prodotti futuri non devono necessariamente essere dedotti dai nostri brevetti".
Il brevetto assegnato a Google dipinge un quadro interessante dei pensieri di Google sul futuro del consumo dei contenuti multimediali nelle mure domestiche. Il brevetto dice che le immagini del proiettore dovrebbero essere controllate da un computer o da un telefono cellulare, il che significa che il sistema potrebbe effettivamente essere un’estensione del dispositivo di streaming Chromecast dell’azienda.






