Il co-fondatore di Google spera di rendere una realtà quel futuro distopico visto ad oggi solo nei film di fantascienza in cui le macchine volano, almeno secondo Bloomberg. In un rapporto del sito si afferma, infatti, che Larry Page sta finanziando segretamente Zee.Aero e Kitty Hawk, due start-up della California che lavorano sullo sviluppo di macchine volanti. Mentre si sapeva che qualcosa bolliva nel ‘pentolone’ delle idee di Google, il coinvolgimento diretto di Page è stato segretato, fino ad ora.
Secondo non una, non due, non tre ma ben dieci "fonti vicine alla questione" segnalate da Bloomberg, Zee.Aero ha sviluppato un paio di prototipi di auto volanti che testa regolarmente. E’ stato predisposto un impianto hangar presso l’aeroporto di Hollister nel sud della California, a circa 70 minuti di auto a sud di Mountain View, dove le persone locali affermano di aver visto strani oggetti volanti (non si tratta di UFO) che vengono descritti nel rapporto come veicoli simili ad aerei con eliche nella parte posteriore, con un modello di forma abbastanza piccola da poter contenere una sola persona, e un altro apparentemente piu’ spazioso.
Secondo Bloomberg, Page ha investito più di 100 milioni di dollari su Zee.Aero, fino ad ora. La società oggi impiega circa 150 persone e ha anche un impianto di produzione nel campus Ames Research Center della NASA.
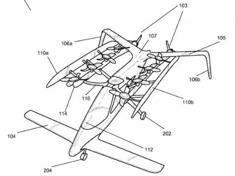
Nel 2015 sono stati pubblicati diversi brevetti concessi a Zee.Aero riguardanti tecnologie da usare in mezzi del trasporto volanti.
Zee.Aero – brevetto

Kitty Hawk ha iniziato a lavorare ad un proprio progetto di mezzo di trasporto volante, un progetto concorrente a quello di Zee.Aero, qualcosa di più simile ad un drone quadrirotore. Pagina ha presumibilmente investito nella società, che è guidata dal fondatore di Google X, la divisione di Google che si occupa dello sviluppo di progetti speciali.
Page sembra convinto che due società, in concorrenza diretta l’una con l’altra, che lavorano a progetti diversi ma con lo stesso obiettivo, contribuirà ad avere risultati più velocemente.






