Uno dei problemi principali degli smartphone molto eleganti e quindi costosi, come ad esempio iPhone, è la fragilità. Basta che cada a terra accidentalmente una sola volta, anche per una semplice distrazione, e può già essere troppo tardi. A meno che non si usino custodie di protezione, se il nostro telefono cade di spigolo o peggio ancora di faccia, una conseguenza – quasi – inevitabile è lo schermo crepato.
La buona notizia è che Apple ha pensato a un meccanismo in grado di prevenire la rottura dello schermo in caso di caduta accidentale. Si tratta di un sistema meccanico pronto a intervenire quando un sensore – che può essere l’accelerometro, il giroscopio o il sensore per l’altitudine – , registra una forza di accelerazione troppo elevata. In tal caso si azionano dei piccoli bracci che fanno uno spessore, evitando il contatto diretto tra iPhone e il terreno. Lo schermo, dunque, dovrebbe essere al sicuro.
Questo marchingegno non è presente nei più recenti modelli come iPhone 6S e 6S Plus. Attualmente esiste solo come un brevetto, che è stato depositato da Apple presso lo United States Patent Application & Trademark Office in data 22 Ottobre 2015. Nulla vieta dunque che potremo vedere questo "Active screen protection for electronic device" nei futuri dispositivi della società di Cupertino.
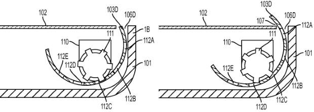
La protezione attiva dello schermo è posizionata in ognuno degli angoli dello schermo. Si tratta di bracci retrattili in "plastica flessibile", "polimeri" o "metallo sottile" che, al momento giusto, sono pronti a saltare fuori per prevenire l’impatto diretto dello schermo. Come si può notare dall’immagine, un ingranaggio motorizzato li proietta all’esterno. Devono essere in grado di assorbire l’energia cinetica: dovrebbero essere progettati in maniera da non rompersi a volta loro.
Brevetto Apple. Prima e dopo la caduta: si nota la comparsa dei bracci ai lati dello schermo

Prima abbiamo detto che il via libera alla loro uscita può essere sancito dalle informazioni provenienti da uno dei sensori citati. Apple fa sapere tuttavia che il meccanismo può essere attivato anche attraverso la fotocamera, con il rilevamento del movimento, o il sistema audio, ovvero attraverso una sorta di radar.
Con l’ultima generazione, Apple ha rinforzato gli iPhone 6S e 6S Plus dotandoli di una struttura in lega di alluminio serie 7000, che è più resistente rispetto al passato (leggi: "iPhone 6S: i primi bend test evidenziano la Resistenza della nuova Lega di Alluminio") e con una nuova protezione Corning Gorilla Glass. Secondo la stessa società di Cupertino, si tratta della lega "più robusta mai utilizzata per un iPhone".
Ecco il meccanismo che fa spuntare i bracci quando necessario

Non è quindi un caso che quest’anno non si sia riproposto il Bendgate; ma indipendentemente da queste migliorie, lo schermo continua a essere uno dei punti di maggior fragilità dello smartphone.
Non sappiamo se vedremo mai questi bracci meccanici in azione su futuri iPhone; ma se accadesse, ne saremmo contenti. Il fatto è che Apple ha depositato il brevetto, in maniera da prevenire che qualcun altro possa rubarle l’idea.
Per tutte le altre informazioni, vi rimandiamo al sito ufficiale dello United States Patent Application & Trademark Office.






