Samsung dettaglia il ‘muscolo artificiale’ per smartphone flessibili

Samsung brevetta un 'muscolo artificiale' che permetterebbe ad uno smartphone di piegarsi con movimenti flessibili dei componenti interni.

Scritto da

Simone Ziggiotto

il

Samsung ha presentato diverse domande di brevetto che nel corso degli ultimi mesi ci hanno permesso di scoprire a che cosa la società sudcoreana sta lavorando riguardo a smartphone flessibili e pieghevoli. Gli ultimi brevetti pubblicati risalgono a qualche settimana fa, i quali hanno illustrato smartphone e tablet pieghevoli. Sono poi arrivate un altro paio di pubblicazioni, tra cui nel mese di luglio una domanda di un brevetto depositata negli Stati Uniti che riguarda un pannello flessibile che puo’ piegarsi senza la pressione di una mano usando un ‘muscolo artificiale’, ossia un componente interno che può permettere al telefono di essere flessibile nei movimenti mantenendo collegati gli elementi interni.

Un nuovo brevetto assegnato al gigante coreano nel mese di novembre dallo US Patent and Trademark Office (USPTO) fornisce ulteriori informazioni sul come questo muscolo artificiale puo’ funzionare quando collegato ad un display flessibile, così come la qualità costruttiva del pannello flessibile stesso.

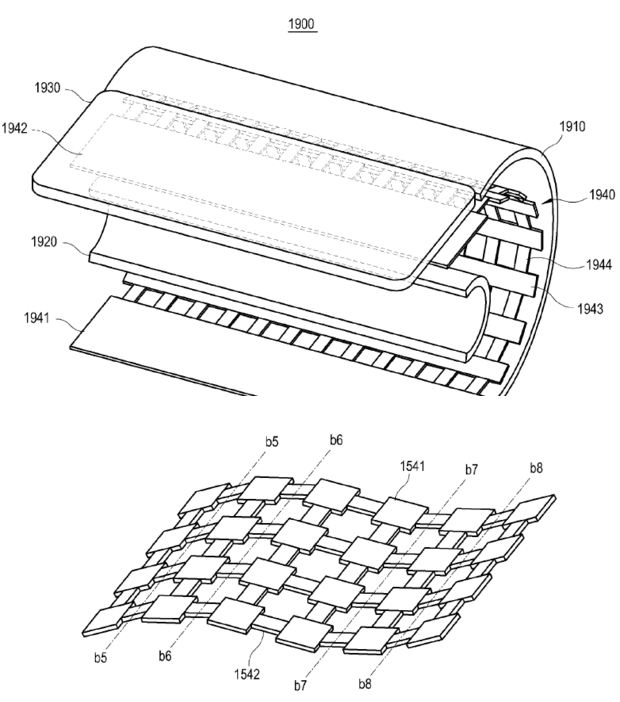
Samsung – brevetto del ‘muscolo artificiale’

Come i nostri muscoli si adattano ai movimenti del nostro corpo, il ‘muscolo artificiale’ brevettato da Samsung è una scheda flessibile che unisce le componenti principali interne dello smartphone, adattandosi in maniera flessibile ai movimenti che il corpo del telefono puo’ sopportare.

In termini piu’ tecnici, il brevetto descrive un dispositivo che ha un display flessibile e una scheda di elaborazione delle immagini flessibile collegate con un ‘muscolo artificiale’ che è configurato per essere deformato in modo che la forma possa cambiare quando in esso viene applicata una certa tensione.

Il brevetto rivela la presenza di due strati di elettrodi con uno strado di materiale dotato di proprietà elastiche nel mezzo, e Samsung afferma che il pannello display flessibile prevede l’uso della plastica, in particolare policarbonato, per ottenere una maggiore flessibilità dello schermo e resistenza al calore.

Samsung definisce nel brevetto il muscolo artificiale come una matrice di ‘placchette collegate’ tra loro che, quando piegate da una forza esterna, mantengono lo stato di flessione.

Un vecchio brevetto descrive un display che è diviso in due parti – una parte superiore ed una inferiore – che consentirebbe al dispositivo di piegarsi ma solo fino ad un certo raggio di piegatura, quindi le due parti non potrebbero chiudersi completamente ‘a libro’. In questo caso le due parti restano collegate tramite una specie di cerniera.

Samsung – brevetto del display diviso in due

Come sempre ricordiamo quando trattiamo di brevetti, non si sa se e quanto cio’ che viene descritto diventerà un prodotto reale. Samsung brevetta molte invenzioni tecnologiche e la maggior parte di essere restano ‘sulla carta’.

Tecnologie come quelle sopra riportate potrebbero arrivare nell’atteso telefono pieghevole ‘Galaxy X‘ nome in codice ‘Project Valley’ che si prevede Samsung lancerà nel 2017. Sempre nel prossimo anno è previsto l’arrivo di un secondo telefono flessibile.

Impostazioni privacy