Una nuova domanda di brevetto, pubblicata dalla USPTO il 29 dicembre 2016, ha rivelato che Samsung potrebbe adottare una configurazione dual-camera per i suoi dispositivi futuri. La domanda è stata depositata nel marzo del 2016, ma è stata resa nota solo il 29 dicembre 2016 tramite il sito dello United States Patent and Trademark Office.
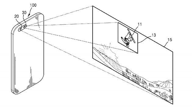
La domanda di brevetto è intitolata "Digital Photographing Apparatus and Method of Operating the Same / Apparato Fotografico Digitale e modo di funzionamento dello stesso" e descrive un sistema di due telecamere composto di un obiettivo grandangolare e di un teleobiettivo. Il teleobiettivo servirebbe per catturare un’immagine ingrandita del soggetto e un processore verrebbe utilizzato per determinare quale delle due fotocamere ha catturato "l’immagine principale" sulla base del movimento del soggetto.
Al processore verrebbe dato il compito anche di determinare l’immagine dal sensore grandangolare come l’immagine principale se la velocità del soggetto principale è maggiore di una velocità predeterminata e determinare l’immagine dal teleobiettivo come l’immagine principale se la velocità del soggetto principale è inferiore ad una velocità predeterminata. Il processore verrebbe inoltre configurato per generare una mappa di profondità basata sull’immagine dal sensore grandangolare e sull’immagine dal teleobiettivo e configurato per acquisire le informazioni di movimento del soggetto principale basandosi sulla mappa di profondità.
Estratto brevetto Samsung dual camera

Samsung avrebbe cosi’ gettato le basi per una configurazione che ricorda quella che Apple ha adottato nel suo iPhone 7 Plus, che consente di scattare foto di persone o altri soggetti che risultano nitide e a fuoco mentre lo sfondo è sfocato.
La stessa domanda di brevetto descrive una possibilità in cui le immagini raccolte da entrambi i sensori potrebbero essere visualizzate sullo schermo del dispositivo, con l’immagine principale visualizzata a schermo intero, mentre l’immagine secondaria visualizzata come immagine piu’ piccola picture-inpicture davanti a quella principale in un angolo dello schermo.
Samsung nella domanda di brevetto non esclude la possibilità di utilizzare la configurazione dual-camera descritta anche per i video, con il processore integrato che potrebbe commutare l’immagine principale automaticamente sempre a seconda del principio della velocità di movimento del soggetto principale – come l’autofocus automatico ma che in tal caso serve a dare priorità all’immagine principale in modo dinamico.
Estratto brevetto Samsung dual camera

Anche se il brevetto viene descritto in 34 pagine, che contengono perlopiu’ delle foto, il funzionamento della dual camera brevettata da Samsung sembra relativamente semplice e di completamente diverso dalla soluzione ‘dual pixel’ che il produttore ha adottato nel suo Galaxy S7. In quest’ultimo caso, il sensore Dual Pixel garantisce una messa a fuoco rapida e uniforme così da permettere di catturare a fuoco anche i movimenti più improvvisi e quando la luce è scarsa – ad esempio quando si sta per scattare una foto mentre qualcosa vicino e ci si gira rapidamente di scatto per catturare quel momento prima che finisca. Con la tecnologia Dual Pixel Samsung va ad utilizzare per ogni pixel presente sul sensore della fotocamera un fotodiodo per il rilevamento di fase, con tutti i pixel sul sensore dell’immagine dotati di due fotodiodi invece di uno.
Anche se il brevetto descrive qualcosa di interessante e idealmente facile da realizzare, non è detto che Samsung introdurrà questa tecnologia dual-camera nei suoi prossimi smartphone, anche se è probabile almeno nei top di gamma. Non ci sarà da sorprendersi del la tecnologia verrà introdotta nel prossimo Galaxy S8.
Samsung Galaxy S7: fotocamera Dual Pixel 12MP nel dettaglio






