Samsung sta sviluppando un “environmental sensor" ossia un "sensore ambientale" stando al brevetto pubblicato dall’Ufficio brevetti della Corea del Sud.
Dalle informazioni disponibili, risulta che il sensore è in grado di mostrare dati sulla qualità dell’aria e si potrà installare su smartphone, tablet e orologi intelligenti.
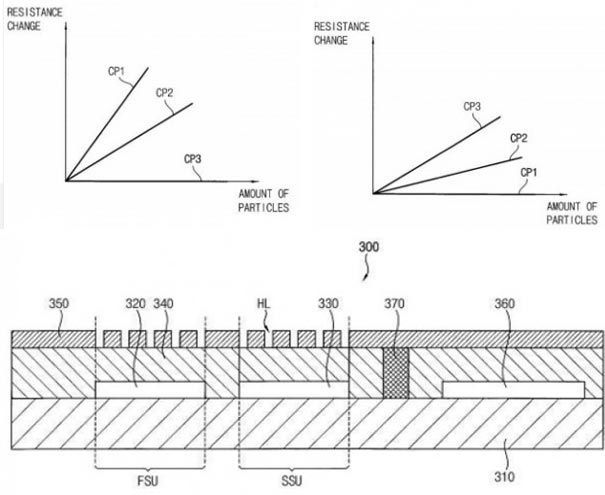
Il sensore ambientale progettato da Samsung puo’ essere incorporato direttamente nel display, cosi’ da risultare invisibile e non occupare altro spazio attorno allo schermo o nella parte posteriore.
Come per ogni brevetto di cui si tratta, anche questo sensore ambientale di Samsung non è sicuro che lo vedremo su un dispositivo reale. A cosa potrebbe servire su uno smartphone?
Samsung – immagini dal brevetto del sensore ambientale







